QBY塑料气动隔膜泵自投产以来,已被国内一千多家石油、化工、电子、陶瓷、纺织、油漆、制药机械系统单位采用,安置在种特殊场合,用来抽送各种常规泵不能抽吸的介质,且替代齿轮泵的理想产品,均取的了满意的效果。
QBY塑料气动隔膜泵使用要求
1.QBY塑料气动隔膜泵振动极其轻微,一般情况可不装底脚螺栓。2.如压缩空气有脏物进入,将会影响泵的正常启动,建议用户加装气动三联件。
3.在抽吸易冻结的介质时,应在泵的进口处装阀门,当停止用泵时,先将该阀关闭,然后再开泵数分钟,将泵体介质排净为止以免造成下次开泵困难。更换隔膜时,须将泵内腕连杆,铅套清洗干净,并不要损坏白色四氟密封圈,按原样装好,即可使用。
QBY塑料气动隔膜泵主要用途
1、QBY塑料气动隔膜泵吸花生酱、泡菜、土豆泥、小红肠、果酱苹果浆、巧克力等。2、QBY塑料气动隔膜泵吸油漆、树胶、颜料。
3、粘合剂和胶水、全部种类可用泵吸取。
4、各种瓦、瓷、砖器及陶器釉浆。
5、油井钻好后,用泵吸沉积物及灌浆。
6、QBY塑料气动隔膜泵吸各种乳剂和填料。
7、QBY塑料气动隔膜泵吸各种污水。
8、用泵为油轮,驳船清仓吸取仓内污水。
9、啤酒花及发酵粉稀浆、糖浆、糖密。
10、泵吸矿井、坑道、隧道、选矿、矿渣中的积水。泵吸水泥灌浆及灰浆。
11、各种橡胶浆。
12、各种磨料、腐蚀剂、石油及泥浆、清洗油垢及一般容器。
13、各种剧毒、易燃、易挥发液体。
14、各种强酸、强碱、强腐蚀液体。
15、各种高温液体最高可耐150℃。
16、作为各种固液分离设备的前级送压装置。
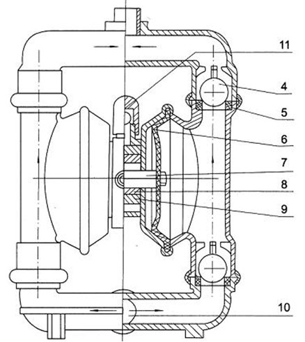
QBY塑料气动隔膜泵内部结构
1.进气口
2.配气阀体
3.配气阀
4.圆球
5.球座
6.隔膜
7.连杆
8.连杆铜套
9.中间支架
10.泵进口
11.排气口
QBY塑料气动隔膜泵型号意义
QBY塑料气动隔膜泵选型参数
|
型号 |
流量 |
扬程 |
出口压力 |
吸程 |
最大允许 |
最大供气压 |
最大空气 |
|
QBY-10 |
0~0.8 |
0~50 |
6 |
5 |
1 |
7 |
0.3 |
|
QBY-15 |
0~1 |
0~50 |
6 |
5 |
1 |
7 |
0.3 |
|
QBY-25 |
0~2.4 |
0~50 |
6 |
7 |
2.5 |
7 |
0.6 |
|
QBY-40 |
0~8 |
0~50 |
6 |
7 |
4.5 |
7 |
0.6 |
|
QBY-50 |
0~12 |
0~50 |
6 |
7 |
8 |
7 |
0.9 |
|
QBY-65 |
0~16 |
0~50 |
6 |
7 |
8 |
7 |
0.9 |
QBY塑料气动隔膜泵应用实例
1、油罐清底,尽管有垫水法抽油,也不能保证将油抽净,表面总要剩下至少3-5mm厚的油层。以5000m3油罐为例,每次大约损耗1-1.5t油。对于有低位脱水槽的油罐,虽可将剩下的油和水排放到含油污水处理场回收,但是挥发的油品在输送过程中大都挥发殆尽,且污染环境。
2、临时倒罐、装卸车和油品采样,炼油生产调度过程中,油品经常要临时倒罐、装车和对油罐中油品采样检验。或者为了不至于污染正常的管线时,用隔膜泵接临时管线可以迅速方便地完成此项任务。
3、油轮仓底油回收一条3000t的油轮用固定螺杆泵卸油,仓库隔板之间至少要剩余50t油,若用排量较大的隔腆泵,可以收到很好的效果。
4、瓦斯、硫化氢残液的输送炼油厂火炬底部的瓦斯残液和含硫水,需要集中排放和处理,否则会形成酸性腐蚀设备。
5、陶瓷行业:用该泵抽吸釉浆,并可用于向压滤机送压。
6、下水井、暗沟排除渍水、污油在下水井管道,阀门及暗沟检修时,需要排除渍水和污油。用潜水泵虽可抽尽溃水,但往往这些地方都远离电源,很不方便。使用隔膜泵则可采用压縮气瓶作动力,回收污油,排泄溃水。
7、污水处理场和污泥池的清扫污水处理场的污泥池,常常聚积大量的油泥和淤沙,需要清扫,采用隔膜泵抽吸灵活、方便省工、省力、省时。
8、液化气泵房和化验室排渍水,由于这些地方地势较低,又是一级防火区,采用隔膜泵排渍水比较安全,比用水抽子、汽抽子效率高出好多倍。
9.此外,QBY塑料气动隔膜泵应用于环烷酸精制转料,装车亚硫酸纳液体输送,苯类原料装卸车等方面都有它自己的优势。
订货请尽量提供:
1.型号2.口径3.扬程(m)4.流量5.电机功率(KW)6.转速(R/min)7.材质不否带附件8.电压(V)
欢迎您访问我们泉达泵阀【www.quandabf.cn】如有任何疑问.您可以致电给我们,我们定会尽力为您提供优质的服务。
